هیوندای اخیراً یک حق اختراع جدید را در اداره ثبت اختراعات و مالکیت معنوی آمریکا به ثبت رسانده است که شامل سیستم فرمان پذیری مستقل چهار چرخ خواهد بود. این سیستم با نام “روش و سیستم کنترل برای حالت چرخش فرمان مستقل چهار چرخ” شناخته میشود. سیستم موردبحث که ما را به یاد ویژگی حالت سواری خرچنگ جی ام سی هامر میاندازد به خودرو اجازه خواهد داد تا در جهات مختلف حرکات بهتری داشته باشد. این سیستم همچنین باعث حرکت جانبی کامل خودرو میشود و حتی در همان موقعیت باعث دور زدن خودرو خواهد شد.

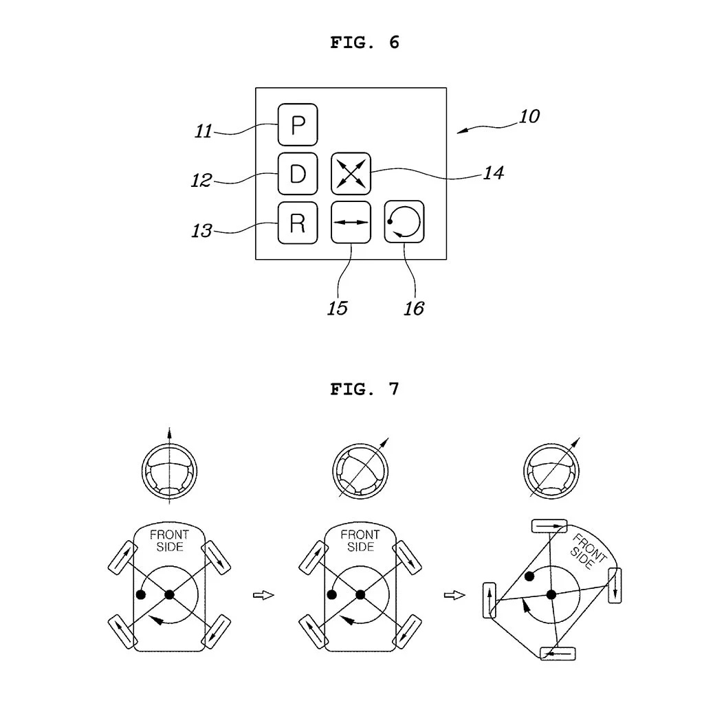
صفحه ۲۱ این پتنت درباره چگونگی کارکرد سیستم بحث میکند و ما فعلاً خیلی وارد جزئیات آن نمیشویم. آنچه جلبتوجه میکند حرکت جانبی و چرخش در موقعیت است که در سیستم فرمان پذیری چهار چرخ هامر الکتریکی آنها را نمیبینیم. هیوندای میگوید چرخش در موقعیت به خودرو اجازه خواهد داد چرخش U در فضاهای تنگ داشته باشد. در برخی موارد جهت چرخش میتواند خارج از مرکز باشد. البته این پتنت درباره استفاده از فرمان مستقل چهار چرخ در خودروهای مدرن نیز صحبت میکند که شامل سیستمهای فرمان موازی و عمود است که هدف آنها بهبود هندلینگ خودرو در سرعتهای کم و زیاد است.

حالتهای سواری این سیستم توسط ECU کنترل میشوند و البته میتوان با مکانیسمهایی آن را با شیفتر دنده هماهنگ کرد. این سیستم همچنین از حسگرهای رمان برای تشخیص جهت حرکت استفاده میکند. هیوندای فعلاً استفاده از این تکنولوژی در محصولات خود و کیا را تائید نکرده است و شاید حتی وارد خط تولید نیز نشود اما خودروهای مدرن آتی با چنین تکنولوژیهایی عرضه خواهند شد.
![]() | ![]() | ![]() | ![]() |




دیدگاه خود را بنویسید